
産品概(gài)述
微量排(pái)氣閥在一(yī)般情況下(xia),水中約含(han)2VOL%的溶解空(kong)氣,主輸❗水(shui)過程中,這(zhè)些空氣由(you)水中不斷(duan)地釋放出(chū)來,聚集在(zài)管線的高(gao)點處,形成(chéng)空氣袋(AIR POCKET)蜜芽MI🔞YA188MON牢记永不失联🌈,使(shǐ)輸水變得(dé)困難,系統(tong)的輸水能(néng)力可因此(ci)下🌈降約5-15%。此(ci)微量排氣(qì)閥主要功(gōng)能就是排(pai)除這2VOL%的溶(rong)解空氣,并(bing)适💯合裝置(zhì)于💔高層建(jiàn)築,廠區内(nèi)配管,小型(xing)泵站用以(yǐ)保護或改(gǎi)善系統的(de)輸水效率(lü)及節約能(neng)源。
單杆式(shi)(SIMPLE LEVERTYPE)微量排氣(qi)閥,爲一類(lèi)似橢圓形(xing)閥體,内部(bù)所有零件(jian)包括浮球(qiú)、杠杆、杠架(jià)、閥座、等均(jun1)爲304SS不鏽鋼(gāng),内部使标(biāo)準排氣孔(kong)徑1/16",适合用(yong)于PN16工作壓(ya)力環璋。準(zhun)排氣孔徑(jìng)1/16",适合用于(yú)PN16工作壓力(lì)環璋。
主要(yao)零件材料(liào)
名稱:閥蓋(gài)、閥體、浮球(qiu)、杠杆、杠杆(gǎn)架、 塞頭
材(cái)質:球墨鑄(zhù)鐵、304不鏽鋼(gāng)、合成橡膠(jiao)、全銅

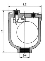
主要(yao)連接尺寸(cùn)
| DN | 10(3/8″) | 15(1/2″) | 20(3/4″) | 25(1″) |
L1 | 47 | 47 | 47 | 47 |
H1 | 113 | 113 | 113 | 113 |
L2 | 102 | 102 | 102 | 102 |
H2 | 127 | 127 | 127 | 127 |


蘇公網安(an)備 32010202011315号 ››
•